napalm Главврач


Статус: Offline Зареєстрований: 11.04.2003 Повідомлення: 9917 Звідки: Киев Моє авто: ЗАЗ-965А
|
Додано: 20 Квітень 2004 16:04 Заголовок повідомлення: Корзина Таврии и КПП 40-ки |
|
|
Прислал ЛЕКС.
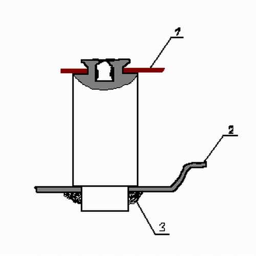
1 ПЛАСТИНКА ОТ ЖИГУЛЕВСКОЙ КОРЗИНЫ
2 КОРЗИНА
3 МЕСТО СВАРКИ
КРОМЕ 3 СТОЕК И ПЯТЫ ЕЩЕ НЕОБХОДИМЫ 3 СТАЛЬНЫЕ ПЛАСТИНКИ ОТ АНАЛОГИЧНОЙ ДЕТАЛИ ЖИГУЛЕВСКОЙ КОРЗИНЫ (НЕГОДНОЙ, ЕСТЕСТВЕННО. НОВУЮ ЛОМАТЬ НЕ НАДО )) )
А ТАКЖЕ 3 ЗАКЛЕПКИ ДИАМЕТРОМ 5 ММ (МАТЕРИАЛ - АЛЮМИНИЙ ИЛИ МЕДЬ)
ПЛАСТИНКИ ОТ ЖИГУЛЕВСКОЙ КОРЗИНЫ ИМЕЮТ ДВА ОТВЕРСТИЯ 5 И 7 ММ.
ОПИСАНИЕ ПЯТЫ (БОЛЕЕ ПРАВИЛЬНОЕ НАЗВАНИЕ - УПОРНЫЙ ФЛАНЕЦ ВЫЖИМНОГО ПОДШИПНИКА)
СОСТОИТ ИЗ 4 ПОЯСОВ РАЗНОГО ДИАМЕТРА. МАТЕРИАЛ - СТАЛЬ. (СМ РИС ПЯТА)
ПОЯС ДИАМЕТРОМ 27 ММ ЯВЛЯЕТСЯ ЦЕНТРУЮЩИМ БУРТИКОМ.
ПОЯС ДИАМЕТРОМ 40 ММ ИМИТИРУЕТ УПОРНОЕ КОЛЬЦО ТАВРИЧЕСКОГО ВЫЖИМНОГО ПОДШИПНИКА. НЕПОСРЕДСТВЕННО КОНТАКТИРУЕТ С ЛЕПЕСТКАМИ ДИАФРАГМЫ КОРЗИНЫ,
ПОЭТОМУ ПЯТУ ЖЕЛАТЕЛЬНО ЗАКАЛИТЬ ДЛЯ СНИЖЕНИЯ ИЗНОСА ИЛИ ПОЯС ДИАМЕТРОМ 40 ММ СДЕЛАТЬ СОСТАВНЫМ - НАПРЕССОВАТЬ КАЛЕНОЕ КОЛЬЦО.
ПОЯС ДИАМЕТРОМ 80 ММ СЛУЖИТ ДЛЯ КРЕПЛЕНИЯ РАСТЯЖЕК
ПОЯС ДИАМЕТРОМ 55 ММ КОНТАКТИРУЕТ С ЗАЗОВСКИМ ВЫЖИМНЫМ ПОДШИПНИКОМ. ДЛЯ СНИЖЕНИЯ ИЗНОСА ГРАФИТОВОЙ ВСТАВКИ ПОВЕРХНОСТЬ ДОЛЖНА БЫТЬ ГЛАДКОЙ
ОПИСАНИЕ СТОЕК
СОСТОИТ ИЗ 3 ЦИЛИНДРИЧЕСКИХ ЧАСТЕЙ. МАТЕРИАЛ - СТАЛЬ. (СМ РИС СТОЙКА)
ОСНОВНАЯ ЧАСТЬ - ДИАМЕТРОМ 10 ММ И ВЫСОТОЙ 13 ММ
ВЕРХНЯЯ ЧАСТЬ ДИАМЕТРОМ 7 ММ СЛУЖИТ ДЛЯ КРЕПЛЕНИЯ РАСТЯЖЕК. ФАКТИЧЕСКИ ЯВЛЯЕТСЯ ЗАКЛЕПКОЙ
НИЖНЯЯ ЧАСТЬ ДИАМЕТРОМ 7.5 ММ СЛУЖИТ ДЛЯ КРЕПЛЕНИЯ СТОЕК К ТАВРИЧЕСКОЙ КОРЗИНЕ
СБОРКА КОНСТРУКЦИИ
К КАЖДОЙ СТОЙКЕ НА ВЕРХНЮЮ ЧАСТЬ ДИАМЕТРОМ 7 ММ НАСАЖИВАЮТСЯ ПЛАСТИНКИ СООТВЕТСТВУЮЩИМ ОТВЕРСТИЕМ. ЗАТЕМ ВЫСТУПАЮЩАЯ ЧАСТЬ СТОЙКИ РАСКЛЕПЫВАЕТСЯ,
ДЛЯ ОБЛЕГЧЕНИЯ РАСКЛЕПЫВАНИЯ В СТОЙКАХ ПРОСВЕРЛЕНЫ ОТВЕРСТИЯ ДИАМЕТРОМ 4 ММ. ПОСЛЕ РАСКЛЕПКИ ПЛАСТИНЫ ДОЛЖНЫ ИМЕТЬ НЕКОТОРУЮ ПОДВИЖНОСТЬ.
ЗАТЕМ ПЛАСТИНКИ С ПРИКЛЕПАННЫМИ СТОЙКАМИ С ПОМОЩЬЮ 5 ММ ЗАКЛЕПОК ПРИКЛЕПЫВАЮТСЯ К ПЯТЕ НА ПОЯС ДИАМЕТРОМ 80 ММ.
ДАЛЕЕ ВСЯ КОНСТРУКЦИЯ УСТАНАВЛИВАЕТСЯ НА ТАВРИЧЕСКУЮ КОРЗИНУ ТАК, ЧТОБЫ УПОРНЫЙ БУРТИК ПЯТЫ ВОШЕЛ В ЦЕНТРАЛЬНОЕ ОТВЕРСТИЕ ДИАФРАГМЫ,
А СТОЙКИ - В 3 ОТВЕРСТИЯ ДИАМЕТРОМ 7.5 ММ, РАСПОЛОЖЕННЫЕ ПО ОКРУЖНОСТИ КОРЗИНЫ (В ЭТИХ ОТВЕРСТИЯХ МОГУТ БЫТЬ БАЛАНСИРОВОЧНЫЕ ЗАКЛЕПКИ,
В ТАКОМ СЛУЧАЕ ИХ ПРЕДВАРИТЕЛЬНО НУЖНО УДАЛИТЬ), А ЗАТЕМ С ОБРАТНОЙ СТОРОНЫ ЗАКРЕПИТЬ ЭЛЕКТРОСВАРКОЙ. ВЗАИМНОЕ РАСПОЛОЖЕНИЕ ДЕТАЛЕЙ НА РИС КОРЗИНА И КРЕПЛЕНИЕ СТОЙКИ..
РАЗМЕРЫ ПЯТЫ (ВЫСОТА ОТ НАЖИМНОГО КОЛЬЦА ДО ОПОРНОЙ ПОВЕРХНОСТИ ЗАЗОВСКОГО ВЫЖИМНОГО ПОДШИПНИКА) ВЗЯТЫ ДЛЯ ПЕРЕХОДНОЙ ПЛИТЫ ТОЛЩИНОЙ 10 ММ.
ПРИ УВЕЛИЧЕНИИ ТОЛЩИНЫ ПЛИТЫ СЛЕДУЕТ УВЕЛИЧИТЬ ВЫСОТУ ПЯТЫ НА ПОЯСАХ ДИАМЕТРОМ 40 И 55 ММ, ОДНАКО ЭТО ПОВЛЕЧЕТ ЗА СОБОЙ УВЕЛИЧЕНИЕ МАССЫ ДЕТАЛИ.
ДЛЯ ПРИВЕДЕННЫХ РАЗМЕРОВ МАССА ПЯТЫ ПРИБЛИЗИТЕЛЬНО 190 Г. В СЛУЧАЕ УВЕЛИЧЕНИЯ ВЫСОТЫ ПЯТЫ СЛЕДУЕТ ПРОТОЧИТЬ ПЯТУ В НЕНАГРУЖЕННЫХ МЕСТАХ ДЛЯ СНЯТИЯ ИЗЛИШКОВ МЕТАЛЛА.
РИСУНКИ ПРИВЕДЕНЫ НЕ В МАСШТАБЕ
|
|